Sony: Zweiäugige Displaybrille als Konkurrenz zu Google Glass

Eine Patentanmeldung in den USA zeigt, dass nicht nur Google eine Computerbrille zur Marktreife entwickeln will. Von Sonys Modell ist bislang allerdings nur ein Patentantrag zu sehen, während Google schon deutlich weiter ist. Google Glass ist allerdings nur mit einem Mikrodisplay ausgerüstet, während Sony mit gleich zwei Displays arbeiten will.



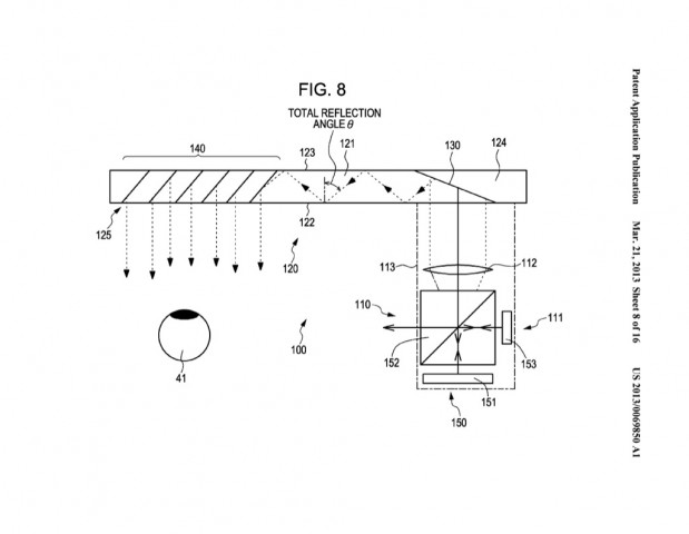
Sony hat seinen Patentantrag 20130069850(öffnet im neuen Fenster) im November 2012 eingereicht. Mit zwei Displays können damit theoretisch dreidimensional wirkende Bilder erzeugt werden. Der Sony-Patentantrag zeigt allerdings nicht, welche Inhalte dargestellt werden sollen. Die Brille funktioniert nach dem physikalischen Prinzip der Totalreflexion(öffnet im neuen Fenster) . An den Brillenbügeln befinden sich die Projektionseinheiten, die das Bild in die Brillengläser einspeisen. Dabei wird das Licht durch das Glas hindurchgeschickt und reflektiert durch ein optisches Element dann in Richtung der Augen.
Sony hat eine deutlich längere Erfahrung mit sogenannten Head Mounted Displays als Google. Allerdings sind diese Brillen bislang zum Filmschauen gedacht gewesen und erlaubten nicht den Blick auf die reale Umgebung.
Die HMZ-T2 ist die aktuelle Videobrille von Sony. Sie wurde 2012 vorgestellt und erreicht Auflösungen von 1.280 x 720 Pixeln für jedes Auge. Die Optik sorgt für die Illusion, dass eine große Leinwand vor dem Betrachter im Raum schwebt. Beide Displays können getrennt angesteuert und so auch für die flimmerfreie 3D-Darstellung genutzt werden. Sony will mit der HMZ-T2 primär Heimkinofans ansprechen, die keinen Platz für die große Leinwand im Wohnzimmer oder Keller haben.
Das dürfte bei der Computerbrille aus dem Patentantrag nicht der Fall sein - hier wird der Benutzer nicht von seiner Umgebung abgeschottet. Ob diese Brille von Sony jemals realisiert wird, lässt sich aus der Antragstellung nicht herauslesen.



