Smart-Bezel-Patent: Bildschirm im iPad-Rahmen
Apple hat einen zweischichtigen Touchscreen patentiert. Die obere Schicht ist wie ein Passepartout über den Hauptbildschirm gelegt. Dieser Rahmen ist selbst ein Touchscreen und kann bei Bedarf Knöpfe und andere Informationen anzeigen.
Apple hat in den USA ein Patent für ein Passpartout für Touchscreens erteilt bekommen. Die Konstruktion soll bei Bedarf den Blick auf den darunterliegenden Bildschirm freigeben können und selbst über einen Touchscreen verfügen. Die Smart Bezel könnte so den Startknopf beim iPad und iPhone ersetzen und neue Eingabemöglichkeiten schaffen. Nach Angaben der Website Patently Apple ist diese Smart Bezel nicht das einzige Patent, das Apple in dieser Richtung besitzt. Das neue Patent soll anders als die bisherigen ursprünglich von Kodak stammen, wurde aber nun Apple zugesprochen.
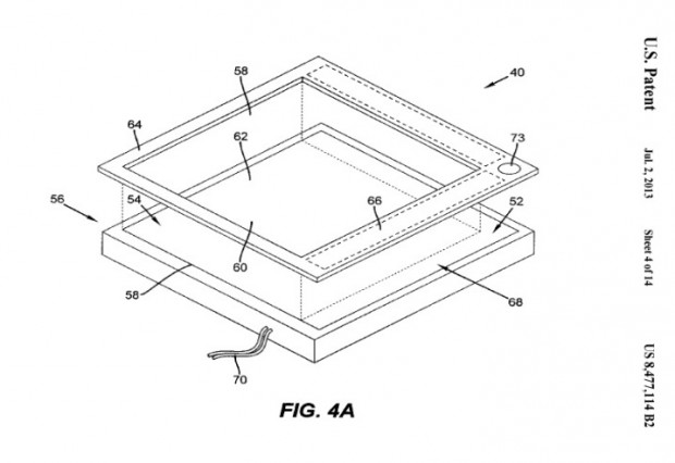
Der schwarze Bildschirmrahmen eines iPhones oder iPads ist verschwendeter Platz - bislang können darauf keine Informationen angezeigt werden und als Touchscreen lässt er sich auch nicht nutzen. Sollte das Patent, das Apple in den USA zugesprochen bekam, umgesetzt werden, würde der Rahmen zum nützlichen Eingabeinstrument. Der Rahmen selbst soll mit halbdurchsichtigen Sekundärbildschirmen versehen werden und auf dem Hauptdisplay liegen. Die Farbe und Lichtdurchlässigkeit des Rahmens kann der Patentbeschreibung nach verändert werden. So lassen sich Elemente des Hauptdisplays einblenden oder verdecken.
Da der Rand ebenfalls als Touchscreen arbeiten soll, ließe sich der Homebutton als physikalischer Knopf beseitigen und durch ein virtuelles Pendant ersetzen. Zum anderen ließen sich im Smart Bezel Informationen einblenden, sie sonst auf dem Hauptbildschirm angezeigt wurden, wie beispielsweise die Push-Nachrichten. Aber auch Bedienungselemente für Apps wären dort gut aufgehoben. Beim Spielen würde der Anwender dann mit seinen Fingern nicht mehr das Spielgeschehen überlagern.
Ob Apple die "Smart Bezel" umsetzt oder das Patent 8,477,114 wie viele andere nie realisiert wird, ist nicht absehbar.
Oder nutzen Sie das Golem-pur-Angebot
und lesen Golem.de
- ohne Werbung
- mit ausgeschaltetem Javascript
- mit RSS-Volltext-Feed








Also soweit ich das jetzt aus dem Artikel verstanden habe soll der patentierte Rahmen das...
Der zweite Touchscreen könnte auf das Halten mit der Hand reagieren, während der primäre...