Reflexionsschutz: Apple patentiert Kunststoffgehäuse fürs iPhone

Apple hat in den USA ein Patent für ein Gehäuse aus klarem Kunststoff für das iPhone zugesprochen bekommen. Die Erfindung soll verhindern, dass die LED, die als Blitz im iPhone steckt, die Bildqualität durch Lichtreflexionen innerhalb des Kunststoffs verschlechtert.




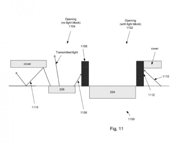
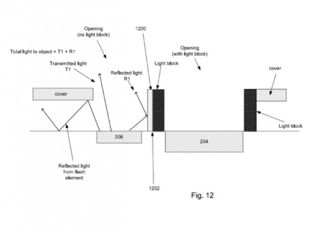
Bei normalen iPhone-Hüllen werden die Bereiche Kameraobjektiv und LED ausgespart, was eine Beeinflussung der Kamera verhindern soll. Die Rückseite selbst ließ bisher kein Licht durch. Wenn nun aber die Rückseite ganz oder teilweise aus Kunststoff ist, kann der für interne Lichtreflexionen oder bei gefärbten Gehäuseteilen auch für farbiges Blitzlicht sorgen, was die Bilder stark verfremden würde, schreibt Apple in der Patentschrift 8,364,032(öffnet im neuen Fenster) . Allerdings muss nicht unbedingt ein durchsichtiger Kunststoff eingesetzt werden. Auch andere transparente Materialien kommen laut Patentschrift infrage.
Die Lösung sieht lichtschluckende Materialien rund um die LED beziehungsweise die Kamera vor, so dass keine Lichtkontaminierung stattfindet. Rund um die LED könnte zudem ein Reflektor eingebaut werden, um das Licht zu konzentrieren, schreibt Apple.
Das kolportierte Billig-iPhone, um das es immer wieder Gerüchte gibt, könnte auch aus Kunststoff bestehen, meldete die IT-Branchenzeitung Digitimes Mitte Januar 2013 unter Berufung auf Informanten in der Lieferkette von Apple. Danach soll das Gerät ein Gehäuse aus Metall und Kunststoff bekommen. Durch ein spezielles Design sollen die Metallteile im Inneren auch von außen zu sehen sein. Gehäuseteile, die das belegen, sind aber noch nicht aufgetaucht.
Außerdem hatte Apple Anfang 2013 eine neue Stelle ausgeschrieben, in der ein neuer Mitarbeiter für das Team gesucht wird, das mit Kunststoffen arbeitet. Der Ingenieur solle Fertigungsmethoden zur Verarbeitung von Plastikprodukten entwickeln.
Apple hatte den Patentantrag im Februar 2012 eingereicht und Anfang 2013 wurde das Patent erteilt.
Auch wenn diese Puzzleteilchen anscheinend perfekt zu einem Billig-iPhone mit Kunststoffhülle zu passen scheinen, müssen sie doch mit Vorsicht betrachtet werden. Wie bei vielen anderen Patenten erwachsen allein aus einer Patenterteilung keine Produkte. Die Stellenausschreibung für den Kunststoffexperten passt zeitlich eventuell rein zufällig in die Gerüchtewelt. Dabei darf nicht vergessen werden, dass Apple in anderen aktuellen Produkten und Zubehör nicht nur Aluminium, sondern auch viele Kunststoffe einsetzt.



