Patentantrag: Menschliche Bilderkennung soll Macs und iPhones entsperren

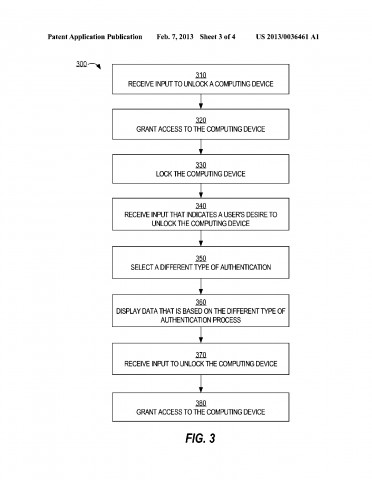
Apple hat in den USA einen Patentantrag eingereicht, in dem eine neue Login-Methode für mobile Geräte und Macs beschrieben wird. Der Anwender soll den Inhalt seiner eigenen Fotos, die ihm zufallsgesteuert vorgelegt werden, korrekt identifizieren. Damit will Apple eine Alternative zum Login per Passwort anbieten.



Das System präsentiert dem Benutzer ein Bild aus seiner Fotosammlung beispielsweise aus iPhoto oder der iCloud und er muss angeben, wer oder was dort zu sehen ist.
Die iPhoto-Anwendung erlaubt es, die in den gespeicherten Fotos enthaltenen Gesichter mit Namen zu versehen. Diese Informationen sollen beim Login eingesetzt werden, so dass es dem Anwender vollkommen freisteht, wie er die Personen betitelt. Das System könnte aber auch um verschlagwortete Objekte erweitert werden, die der Anwender für das Login identifizieren muss. Welche Bezeichnung der Anwender dabei vergibt, ist ihm freigestellt.
Das System soll für eine erhöhte Sicherheit eine Reihe von unterschiedlichen Bildern anzeigen. So soll die Wahrscheinlichkeit verringert werden, dass Dritte, die sich einloggen wollen, jedes Mal die korrekte Antwort kennen.
Wie die richtige Antwort ausgewählt wird, lässt Apple weitgehend offen. Wahlweise können Auswahllisten mit möglichen Antworten angezeigt werden, die mit der Maus oder dem Finger angetippt werden müssen. Auch Textfelder, in die der Name hineingeschrieben werden muss, sind denkbar. Eine Spracherkennung, bei der der Anwender nur noch die Namen der erkannten Personen aussprechen muss, beschreibt Apple ebenfalls im Patentantrag. Dazu könnte auch eine Stimmen-Authentifizierung eingesetzt werden.
Apple hat den Patentantrag 20130036461(öffnet im neuen Fenster) im August 2011 eingereicht. Er wurde erst jetzt veröffentlicht.