Patentantrag: iPhone mit rundumlaufendem Display

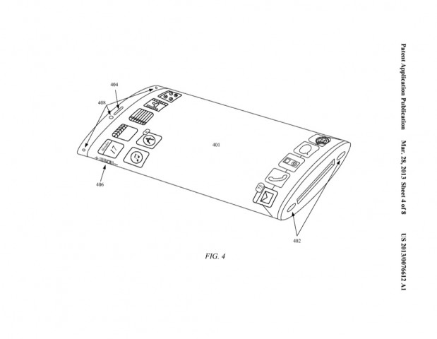
Im US-Patentantrag wird ein iPhone beschrieben, bei dem auf physische Knöpfe und andere Bedienelemente zugunsten eines rundumlaufenden Touchscreens verzichtet werden könnte. An den Seiten könnten stattdessen kontextabhängig auch weitere Flächen definiert werden, die in der jeweiligen App zur Steuerung eingesetzt werden könnten. Das würde vor allem Spieleentwicklern neue Möglichkeiten eröffnen.




Die größte Herausforderung beim Bau des in recht detailreichen Bildern gezeigten Konzepts wäre jedoch das gebogene Display. Dessen Einbau in das Gehäuse ist Teil der Patentschrift. Das Gehäuse selbst könnte demnach aus einem Glaskörper mit Metallenden bestehen.
Das Amoled befindet sich auf einer Kunststofffolie in elliptischer Form, die im erwärmten Zustand eingerollt in das Gehäuse gesteckt werden kann. Beim Abkühlen soll sie die ursprüngliche Form wieder annehmen und sich so an die Gehäusewände anschmiegen. Danach werde die Elektronik eingesetzt und das Gehäuse verschlossen, so Apple im Patentantrag. Sogar ein zweilagiges, halbdurchsichtiges Display ließe sich so in das Gehäuse einsetzen, so Apple. Die übereinanderliegenden Displayfolien könnten unabhängig voneinander betrieben werden, um einen Pseudo-Tiefeneindruck zu erzielen.
Apple hatte den Patentantrag 20130076612(öffnet im neuen Fenster) Ende September 2011 eingereicht. Er wurde erst jetzt veröffentlicht. Der reine Patentantrag ist keine Gewähr dafür, dass Apple irgendwann einmal ein Produkt mit diesen Eigenschafen auf den Markt bringen wird.
Sony hatte bereits im Mai 2010 ein 4,1 Zoll (10,4 cm) großes OLED vorgestellt , das an einem Stift aufgerollt werden kann. Es erreicht eine Auflösung von 432 x 240 Pixeln und kann 16,7 Millionen Farben darstellen. Es lässt sich auf einem kleinen Stab mit einem Radius von 4 mm aufrollen.