Patentantrag: Apples Kraftmaus fühlt und vibriert

Apple hat beim US-Patent- und Markenamt einen Antrag für eine Patenterteilung eingereicht, der eine neue Computermaus beschreibt, die erkennt, wo und wie stark der Anwender auf ihre Eingabetaste drückt. Die real existierende Magic Mouse mit ihrer Touchpad-Oberfläche kann derzeit nur erkennen, wo der Anwender ihre Eingabefläche berührt hat, nicht aber, wie stark gedrückt wurde.





Außerdem soll die im Patentantrag beschriebene Force Sensing Mouse ein spürbares (haptisches) Feedback liefern können. Im einfachsten Fall vibriert sie einfach, wenn der Anwender eine bestimmte Aktion am Bildschirm ausgeführt hat oder über einen Button oder ein anderes Element mit dem Mauszeiger gefahren ist.
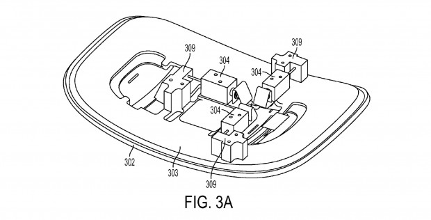
Im Inneren der Maus sitzt der Sensor, der die Kraft messen kann, mit der auf den Mausknopf gedrückt wurde. Das wird mit Hilfe eines Hebels oder anderen Mechaniken realisiert, die im Mausgehäuse sitzen und die Kraft auf den Sensor übertragen. Dazu kommen einer oder mehrere Vibrationsmotoren für das spürbare Feedback.
Es ist nicht bekannt, ob Apple derzeit an einer neuen Maus arbeitet. Eine Vielzahl von Patentanträgen wird eingereicht, ohne dass jemals ein entsprechendes Produkt in den Handel kommt.
Der Patentantrag 20140225832(öffnet im neuen Fenster) zu Apples "Kraftmaus" wurde im Februar 2013 eingereicht und erst jetzt vom US-Patent- und Markenamt veröffentlicht.