Patentantrag: Apple sagt miesen Smartphone-Fotos den Kampf an

Das US-Patent- und Markenamt hat eine Patentanmeldung von Apple veröffentlicht, nach der schlechte Fotos von Smartphones durch eine Serienaufnahme und eine Bildanalyse beseitigt werden sollen.



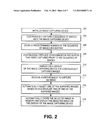
Die Patentschrift mit dem Titel "Image Capturing Device Having Continuous Image Capture" sieht vor, dass die Kameraelektronik das beste Bild automatisch anhand von Belichtungszeiten und anderen Faktoren auswählt.
Die Erfindung soll einen großen Nachteil von Smartphone-Kameras abstellen, den auch Kompaktkameras aus älteren Baujahren aufweisen. Durch die Auslöseverzögerung gibt es gerade bei bewegten Motiven viel Ausschuss. Die Verzögerung zwischen dem Drücken des Auslösers und der eigentlichen Bildaufnahme ist bei Smartphones vergleichsweise lang. Das sorgt oft für verwackelte Aufnahmen, weil der Benutzer die Kamera schon wieder bewegt, nachdem der Auslöser gedrückt wurde.
Apple will hingegen eine Serie von Bildern aufnehmen, solange sich der Finger auf dem Auslöser befindet. Diese Bilder werden zwischengespeichert und automatisch ausgewertet, um das beste auszuwählen. Dabei würden Parameter wie Belichtungszeit oder Kontrast herangezogen, schreibt Apple im Patentantrag.
Nikon verwendet bei seinen Systemkameras(öffnet im neuen Fenster) eine ähnliche Technik. Die Funktion "Smart Photo Selector" soll für die automatische Auswahl der besten Aufnahme bei Serienaufnahmen sorgen. Dabei werden vor und nach Durchdrücken des Auslösers 20 Bilder mit voller Auflösung aufgenommen. Die fünf besten werden zur Auswahl gespeichert. Die automatische Auswahl der Bilder basiert auf Gesichtsausdruck, Bildausschnitt und Fokusgenauigkeit.
Der Patentantrag 20130038771(öffnet im neuen Fenster) wurde schon im Oktober 2012 eingereicht und erst jetzt veröffentlicht.



