Zum Hauptinhalt Zur Navigation Zur Suche

Patent: Samsung zeigt konkrete Idee für faltbares Smartphone

In einer Patentveröffentlichung hat Samsung eine Idee für ein faltbares Smartphone genauer erläutert. Ein derartiges Gerät könnte auf verschiedene Arten zu falten sein und eine Halterung für ein separates Kameraobjektiv haben.
/ Tobias Költzsch
25 Kommentare News folgen (öffnet im neuen Fenster)
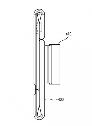
So sieht das faltbare Smartphone in der Patentschrift aus. (Bild: Screenshot: Golem.de)
So sieht das faltbare Smartphone in der Patentschrift aus. Bild: Screenshot: Golem.de

Das südkoreanische Patentamt hat einen Patentantrag Samsung veröffentlicht, in dem der Hersteller eine konkrete Idee für ein faltbares Smartphone vorstellt. Das Gerät soll dank mehrerer Gelenke unterschiedliche Faltmöglichkeiten bieten, auch eine separate Halterung für ein Kameraobjektiv ist zu erkennen. Über das Patent berichtete die niederländische Seite Galaxyclub.nl(öffnet im neuen Fenster).

In der Patentschrift ist neben Zeichnungen auch ein Foto des Gerätes abgebildet. Dieses ist sehr unscharf, weshalb unklar ist, ob es sich um einen echten Prototyp handelt. Auf dem Foto ist das Smartphone in "klassischer" Konfiguration zu sehen, mit dem Display im oberen Bereich und dem Home-Button darunter.

Home-Button-Segment kann auf die Rückseite gefaltet werden

Das Home-Button-Segment soll sich der Patentschrift zufolge auch komplett auf die Rückseite falten lassen. Dann besteht die Vorderseite aus dem Hauptdisplay, was um ein Neben-Display erweitert werden soll. Dieses befindet sich in der klassischen Faltkombination auf der Rückseite. Das Home-Button-Segment beherbergt in den Zeichnungen auch eine Kamera, die nach dem Umklappen auf die Rückseite offenbar als Hauptkamera genutzt werden kann.

In den Patentzeichnungen ist auf dem Hauptsegment der Rückseite allerdings auch ein Anschluss für ein separates Kameraobjektiv zu sehen. Damit könnten Nutzer ihr Smartphone dank unterschiedlicher Objektive als kleine Digitalkamera nutzen. Dank des besseren Platzangebotes dürfte sich bei einer derartigen Konstruktion auch ein größerer Chip als bei aktuellen Smartphones einbauen lassen.

Wann Samsung ein derartiges Falt-Smartphone auf den Markt bringen wird, ist aktuell noch unklar. Der Hersteller hat noch keine offiziellen Angaben in diese Richtung gemacht.


Relevante Themen