Patent: Nikon mit Ringblitz für Kompaktkameras

Ringblitze haben in der Porträt- und Makrofotografie erhebliche Vorteile gegenüber einem eingebauten Blitz. Ihre Anordnung um das Objektiv herum sorgt dafür, dass auch bei kurzen Abständen zum Motiv keine Abschattung erfolgt. Außerdem sorgen sie bei Porträts für ringförmige Reflexionen in den Augen – manche Fotografen und ihre Auftraggeber favorisieren dieses Phänomen.



Für DSLRs gibt es Ringblitze sowohl von den Kameraherstellern als auch von Dritten. Für Kompaktkameras hingegen gibt es unseres Wissens kein einziges Modell. Nikon könnte das nun ändern.
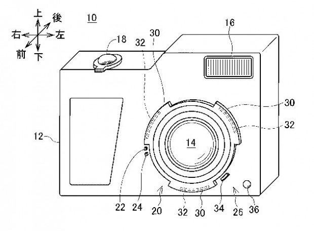
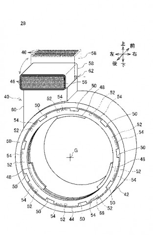
In der Patentschrift, die das Blog Nikonrumors(öffnet im neuen Fenster) entdeckte, wird ein Ringblitz-Aufsatz skizziert, der über den Objektivtubus gestülpt wird und das Licht des eingebauten Blitzes über einen Lichtleiter abzapft und so umlenkt, dass es an der Vorderseite des Rings an mehreren Stellen austritt. Diese Bauform eines Ringblitzes gibt es auch für DSLRs zum Beispiel in Form des Ray-Flash(öffnet im neuen Fenster) oder des Saturn Ring Flash(öffnet im neuen Fenster) . Diese Aufsätze sind jedoch erheblich voluminöser als Nikons Lösung.
Neukauf bei Kamerawechsel erforderlich
Die Besonderheit von Nikons Konstruktion: Das Zubehör würde nur an eine einzelne Kamera passen, auf dessen Gehäusemaße und Objektiv sie genau abgestimmt sein muss. Herkömmliche Ringblitze hingegen können auch bei einem Kamerawechsel meist weiter genutzt werden.
Das Patent, das in Japan unter der Nummer 2012-185190(öffnet im neuen Fenster) veröffentlicht wurde, bedeutet natürlich noch nicht, dass Nikon auch tatsächlich einen solchen Ringblitz-Aufsatz auf den Markt bringen wird.