Patent: Künftige iPhones mit Quetschfunktion denkbar

Apple hat in den USA ein Patent zugesprochen bekommen, nachdem künftige iPhones auch durch das Quetschen des Gehäuses vom Anwender bedient werden könnten. Das Patent bezieht auch auf andere elektronische Geräte wie den iPod Touch und schließt Tablets und Notebooks mit ein.



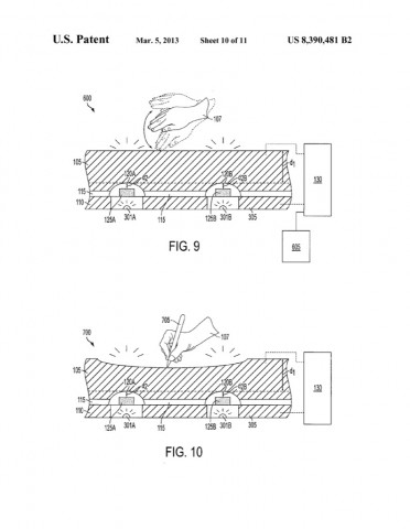
Das Patent 8,390,481 beschreibt, wie ein mobiles Gerät nicht nur auf Berührung, sondern auch auf etwas rabiatere Eingaben reagieren könnte. Dabei ist vor allem das Gehäuse als zusätzliche Eingabefläche interessant. Zum Beispiel der Rand oder die Rückseite des Smartphones lassen noch viel Raum für derartige Eingabemöglichkeiten, die nicht nur für Spiele geeignet wären. Auch die Musikwiedergabe könnte sich auf diese Weise ohne einen Blick auf den Bildschirm durch einfache Kommandos steuern lassen. Auch die Entgegennahme von Gesprächen oder die Bedienung einer Stoppuhr könnte so erfolgen. Letztlich würde auch die Bedienung von Notebooks davon profitieren, wenn der Anwender es durch einfache Berührungen beispielsweise aufwecken könnte.
Apple hatte das Patent schon 2009 als Antrag eingereicht. Die Patentschrift 8,390,481(öffnet im neuen Fenster) wurde dem Unternehmen aber erst Anfang März 2013 zugesprochen.
Apple hatte 2008 auch schon ein Patent bei der WIPO (World Intellectual Property Organization) angemeldet, bei dem ein Touchpad sowohl auf der Vorder- als auch der Rückseite von mobilen Geräten angebracht ist. Ein Mobiltelefon ließe sich damit von beiden Seiten steuern.
Ob Apple jemals Geräte mit dieser Technik auf den Markt bringen wird, ist nicht absehbar. Viele Patentanmeldungen und Patente münden nicht in konkreten Produkten.



