Patent: Apple-Stift mit GPS und WLAN

Smarte Uhren, intelligente Brillen und nun auch noch ein Computerstift? Das Apple neu zugeteilte US-Patent beschreibt einen Stift, der als schnurloser tragbarer Computer arbeitet. Ein kleines Touchscreen-Display auf der Seite kann dabei eingehende E-Mails, Sprachnachrichten und SMS anzeigen. Der Stift ist laut Patentbeschreibung zudem mit WLAN und GPS ausgestattet, um online seine Position bestimmen zu können.


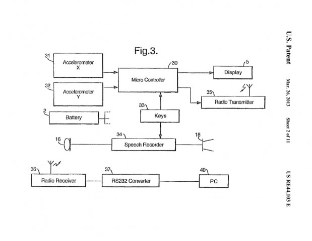
Der Stift soll auch in seiner klassischen Rolle zum Schreiben benutzt werden können – allerdings digitalisiert er das Geschriebene auch gleich. Dazu wird nicht wie bei aktuellen Modellen das Schriftbild mit einer kleinen Kamera aufgenommen, die auf das Papier zeigt. Vielmehr sind laut Patentbeschreibung(öffnet im neuen Fenster) Beschleunigungssensoren im Stift verbaut, mit denen erkannt werden soll, was geschrieben wurde.
Zusammen mit dem Mobilfunkmodul und einem GPS-Empfänger soll der Stiftcomputer mit einem Lautsprecher und einem Mikrofon ausgestattet sein. In der Patentschrift ist von einem Mobiltelefon und von einem Stiftcomputer die Rede.
Erfinderin verkaufte ihr Patent an Apple
Ursprünglich wurde der Patentantrag zu dem Stiftcomputer schon 1998 eingereicht und erstmals im September 2011 gewährt. Das Patent wurde nun um die Beschreibungen der WLAN- und Mobilfunkfunktionen erweitert und neu gewährt. Erstmalig hatte das Patent die Britin Lyndsay Williams eingereicht. Sie arbeitete(öffnet im neuen Fenster) für Microsoft und entwickelte 1987 die erste Soundkarte für IBM-kompatible PCs.
In ihrem Blog erwähnt(öffnet im neuen Fenster) sie auch das damals patentierte Produkt, von dem es zwei funktionierende Prototypen gab. Der Smartquill(öffnet im neuen Fenster) war ein Stiftcomputer, der für die British Telecom entwickelt wurde. Einer der Prototypen wurde später gestohlen. Die Idee hinter dem Smartquill war es, einen kompletten Rechner in einem Stift unterzubringen, der die Schreibbewegungen erkennt. Er soll eine Erkennungsgenauigkeit von 96 Prozent erreicht haben. Apple kaufte das Patent 2008 auf.
Tragbare Elektronikgadgets sind en vogue
Derzeit versuchen mehrere Unternehmen, Rechner zu entwickeln, die in Brillen und Uhren untergebracht und mit Mobilfunktechnik ausgestattet sind. Google will seine monookulare Computerbrille für unter 1.500 US-Dollar anbieten.
Samsung arbeitet nach eigenen Angaben an einer Smartwatch und Konkurrent Sony hat mit der Smart Watch bereits seit längerer Zeit ein Handgelenkgadget auf dem Markt. Angeblich arbeitet auch Apple an einem Handgelenksrechner in Form einer Uhr. Grundsätzlich ist das Prinzip nicht neu: Vor zehn Jahren hatte Microsoft die Spot-Uhren vorgestellt, die sich vor allem durch mobilen Internetzugang auszeichneten. Das Projekt wurde allerdings vier Jahre nach der Markteinführung wieder beendet.
Ob Apple einen Stiftcomputer auf den Markt bringt, lässt sich aus den Patentaktivitäten nicht herauslesen.



