Microsoft-Patentantrag: Kinect könnte künftig Zuschauer überwachen

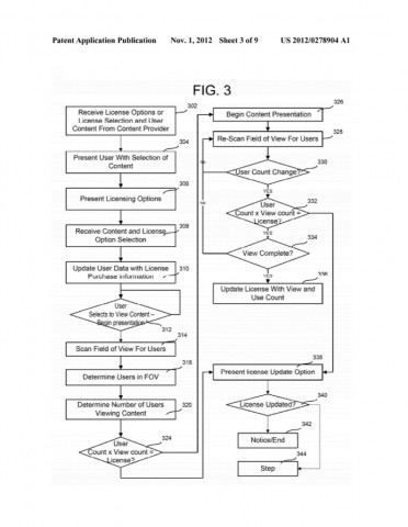
Zur Lizenzüberwachung und aus Jugendschutzgründen ließe sich Kamera- und Sensortechnik einsetzen, schreibt Microsoft in zwei Patentanträgen. Mit der Kamera ließe sich zum Beispiel automatisiert feststellen, wie viele Personen vor dem Fernseher sitzen.
Der Name "Kinect" fällt zwar nicht explizit in dem Antrag "Content distribution regulation by viewing user", in dem auch eine Einbindung von Videobrillen erwähnt wird, aber einer der Erfinder der Kinect-Hardware zeichnet auch für diesen Patentantrag verantwortlich.




Mit der Technik ließen sich Lizenzmodelle durchsetzen, die von der Zahl der Personen abhängige Gebührenzahlungen erfordern. Die Wiedergabe ließe sich bei entsprechender Kontrollmöglichkeit anhalten, wenn zu viele Menschen anwesend sind. Auch ein Lizenzerwerb für weitere Zuschauer ist denkbar. Das wäre vor allem für Film- und Spieleanbieter interessant.
Als Erfinder listet der Patentantrag 20120278904(öffnet im neuen Fenster) unter anderem Alex Kipman(öffnet im neuen Fenster) auf, der die Entwicklung von Kinect bei Microsoft leitete.
Das System könnte auch das Alter der Anwesenden mitberücksichtigen und die Wiedergabe von Inhalten unterbinden, falls Minderjährige vor dem Fernseher sitzen. Wie das funktioniert, klärt der neue Patentantrag zwar nicht - aber ein älterer, den Microsoft schon 2010 eingereicht hat(öffnet im neuen Fenster) . Dabei soll die Auswertung von Körperproportionen eine entscheidende Rolle spielen.
Der Patentantrag wurde schon im April 2011 eingereicht und erst jetzt veröffentlicht. Derartige Einreichungen zeigen letztlich nur auf, welche Techniken die Ingenieure eines Unternehmens erwägen, aber nicht, ob sie auch tatsächlich in konkreten Produkten münden. Deshalb muss man nicht unbedingt davon ausgehen, dass in der nächsten Xbox- oder Kinect-Generation eine "Konsumenten-Erkennung" integriert sein wird.
Die Kamera zur Zuschauerüberwachung müsste übrigens nicht unbedingt auf dem Fernseher stehen. Anfang des Jahres hieß es, dass Kinect für Windows auch direkt in Notebooks integriert werden könnte.



