Mehr Anzeigeplatz: Apple patentiert iPhone mit Faltdisplay
Apple hat ein Patent auf faltbare Displays von Smartphones, Tablets und Smartwatches erhalten. Die Technik würde größere Bildschirme bei unveränderten Gehäusemaßen erlauben. Ein passendes Display ist schon vorgestellt worden.
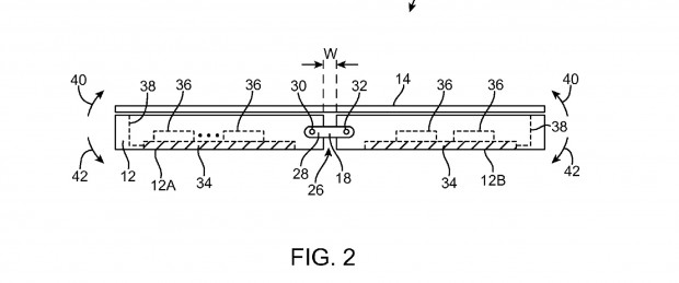
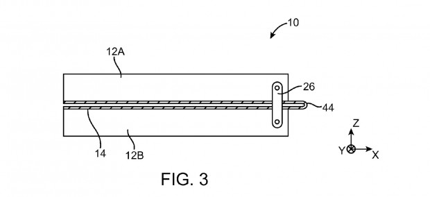
Apple hat ein Patent für "Flexible Display Devices" erhalten. Darin wird ein mobiles Endgerät beschrieben, das mit einem Scharnier und einem faltbaren Bildschirm ausgestattet ist, der in unterschiedlichen Winkeln aufgeklappt und betrachtet werden kann. Das Display könnte laut Patentschrift nicht nur bei einem Smartphone, sondern auch bei einem Tablet oder einer Uhr eingesetzt werden.
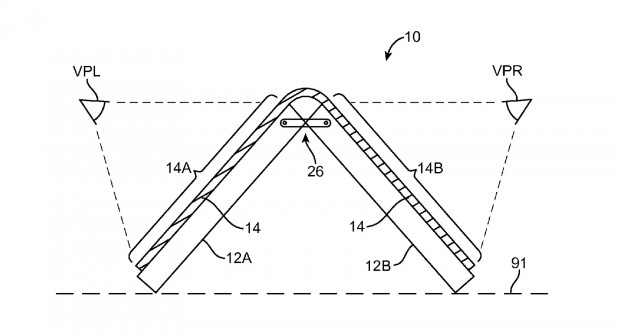
Apple will zwei Displays mittels Scharnier verbinden, um eine größere Anzeigenfläche zu erzielen. In der Illustration der Patentschrift wird auch eine Art Dreieckshaltung eines Smartphones gezeigt, bei dem das Display zum Beispiel genutzt werden kann, um zwei Spielern unterschiedliche Inhalte zu präsentieren.
Japan Display stellte jüngst einen Klapp-Touchscreen vor, dessen Displays jeweils etwa 5,5 Zoll groß sind. Der sie trennende Rand ist mit 2 mm sehr schmal.
Es gibt bereits faltbare OLED-Displays, so dass künftig vielleicht gar kein Rand mehr erforderlich ist. Sony stellte 2010 ein 4,1 Zoll (10,4 cm) großes OLED vor, das sich auf einem Stift aufrollen lässt. Harte Knicke verträgt es jedoch nicht. Ein Tablet mit einem Klappdisplay gab es in Form des Sony Tablet P schon einmal. Großen Erfolg hatte das Gerät offenbar nicht, denn Sony brachte bisher kein Nachfolgemodell auf den Markt.
Das US-Patent 9,504,170 wurde Apple am 22. November 2016 erteilt. Das ist aber kein Garant dafür, dass Apple die Erfindung auch bei einem Produkt einsetzt.
Oder nutzen Sie das Golem-pur-Angebot
und lesen Golem.de
- ohne Werbung
- mit ausgeschaltetem Javascript
- mit RSS-Volltext-Feed









Quatsch... Leider kann man in den USA jeden Mist "nachpatentieren". In Deutschland...
Robust? Die Dinger sind doch immer in 25 Teile zerfallen wenn sie runterfielen. Einziger...
Natürlich sieht Android einen Home-Button vor! Es ist allerdings seit ein paar...
Lies doch die Patentschrift, da steht es en Detail beschrieben. Es geht darum, ein...