Magsafe-Kopfhörer: Kabel ab und die Musik spielt trotzdem weiter

Ein Kopfhörer, der sich bei Belastung wie Apples Magsafe-Stromanschluss einfach vom iPhone oder iPad trennt und dann sofort auf schnurlosen Betrieb umschaltet, ist Gegenstand einer Patentanmeldung(öffnet im neuen Fenster) von Apple in den USA.



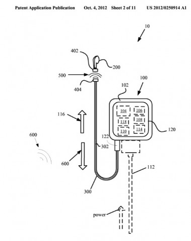
Die Patentschrift offenbart, dass Apple darüber nachdenkt, einen Hybridkopfhörer zu entwickeln, der sowohl über Bluetooth oder eine andere Funkverbindung als auch über eine Kabelverbindung arbeitet. Zwischen beiden Übertragungswegen kann er bei Bedarf blitzschnell umschalten, um die Musikwiedergabe nicht zu unterbrechen.
Kabelkopfhörer spielt beim Rausreißen per Funk weiter
Ein einfacher Clip oder ein Magnet hält die beiden Teile zusammen, ganz wie Apples Magsafe-Stromanschluss für die Macbooks . Die Verbindung lässt sich mit wenig Kraft trennen, wenn sich der Benutzer im Kabel verfängt oder daran zieht. So sollen weder das Kabel, der Kopfhörer noch die Ohren des Anwenders unter dem Zug leiden. Ziel ist, dass die Kopfhörer in den Ohren bleiben und die Musik weiterspielt.
Nachdem der Kopfhörer vom angeschlossenen Gerät physisch getrennt wird, werde eine drahtlose Funkverbindung mit dem Abspielgerät aufgebaut. Das könne zum Beispiel per Bluetooth erfolgen, schreibt Apple in der Patentanmeldung. Der Normalbetrieb erfolgt stromsparend per Kabel.
Eine Patentanmeldung oder Zuteilung heißt natürlich nicht, dass sich daraus auch konkrete Produkte ergeben. Sie zeigen aber durchaus, in welche Richtung ein Unternehmen denkt: Vor kurzem bekam Apple in den USA für eine Funklösung ein Patent erteilt, bei dem iPods, iPhones und iPads schnurlos mit dem Zubehör Kontakt aufnehmen können.
Der Patentantrag für den Magsafe-Funkkopfhörer wurde Ende März 2011 eingereicht und erst jetzt veröffentlicht.