Magic Leap: Das tragbare Lichtfeld-Holodeck

Google hat zusammen mit Qualcomm sowie weiteren Investoren gut eine halbe Milliarde in das Unternehmen gesteckt, und Android-Chef Sundar Pichai sitzt im Verwaltungsrat: Was aber hat Magic Leap bisher entwickelt, das dem Startup vier Jahre nach seiner Gründung einen geschätzten Marktwert von zwei Milliarden US-Dollar gibt?
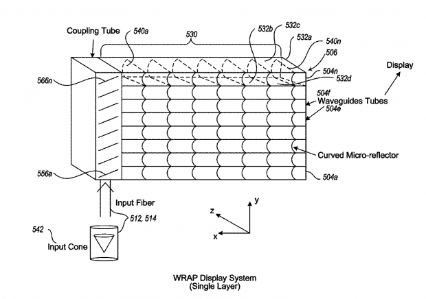
In mehreren Patenten und Markenzeichen findet sich die vorläufige Antwort: Einen Wave Guide Reflector Array Projector ( WRAP(öffnet im neuen Fenster) ), Magic Leap selbst spricht von einem Dynamic Light Field Display ( DLFD(öffnet im neuen Fenster) ) mit integrierter Augenbewegungserfassung(öffnet im neuen Fenster) . Genauer gesagt handelt es sich hierbei um ein Head Mounted Display, das mit einer kleinen Wearable-Box(öffnet im neuen Fenster) verbunden wird, die am Gürtel befestigt ist.

Das Display selbst besteht laut von Technology Review(öffnet im neuen Fenster) entdeckten Patenten aus einer Anordnung von einer oder mehreren Lagen von winzigen, gekrümmten, reflektierenden Materialien, die an Lichtwellenleiter angeschlossen sind - eine Art Mikrolinsenraster, die aus einer Vielzahl von gerichteten Strahlen ein Lichtfeld erzeugen.
Anders als beispielsweise beim Oculus Rift blickt der Nutzer nicht auf einen zweidimensionalen Bildschirm, der ihm Tiefe nur da vorgaukelt, wo es der Entwickler beabsichtigt. Stattdessen erschafft das Lichtfeld echte Tiefe, der Träger des WRAP entscheidet selbst, welche Bildinhalte fokussiert und scharfgestellt werden - Stichwort Augenbewegungserfassung.
Dies soll sich natürlicher anfühlen und das Übelkeitsgefühl verhindern, welches bei einigen Nutzern eines Oculus Rift trotz Head-Tracking sowie Positional Tracking weiterhin aufkommt.
Vollgepackt mit Sensoren
Das WRAP alleine würde nur eine virtuelle Realität schaffen, für eine Augmented Reality fehlt die Integration der echten Welt. Hierzu plant Magic Leap entweder digitale Objekte in zuvor gefilmte, reale Szenen einzublenden (wie den Elefant im Video) oder parallel zur Augenbewegungserfassung das Mikrolinsenraster durchscheinend zu schalten, so dass der Nutzer seine Umgebung wahrnimmt.
Um diese in die virtuelle Realitäten einzubetten und zusätzlich die Gestern des Nutzers erfassen zu können, plant Magic Leap sein Augmented-Reality-Display mit beispielsweise einer oder mehreren (TOF)-Tiefenkameras, Infrarot-, Annäherungs-, Ultraschallwellen- und Beschleunigungssensoren, Magnetometern, Gyroskopen oder GPS-Empfängern auszustatten.



Die Unmengen an anfallenden Daten werden von der Wearable-Box an Server geschickt, weiterverarbeitet und zurückgesendet - ähnlich wie bei Googles Glass. Magic Leap plant den Dutzenden Stellenausschreibungen(öffnet im neuen Fenster) zufolge, eigene Chips für Augmented Reality zu entwickeln, welche den Ansprüchen des Systems besser gerecht werden als die derzeit am Markt befindlichen.
Grundlegend sind Techniken wie Lichtfeld-Display oder Geräte, die mit Hilfe von Sensoren die Umgebung erfassen, keine wirkliche Neuerung. Nvidia zeigte schon im Sommer 2013 eine Lösung auf Basis von OLED-Panels ( PDF(öffnet im neuen Fenster) ), Microsoft verkauft Kinect seit Jahren und Intel möchte Real Sense in Tablets zum Standard machen(öffnet im neuen Fenster) .
Die Herausforderung für Magic Leap besteht nun darin, eben diesen magischen Vorwärtssprung zu vollführen, alle Techniken zu kombinieren. Genug Geld und Know-How dürfte das Startup haben: Noch bevor Google investierte, hatte Firmengründer Rony Abovitz sein Unternehmen Mako Surgical für 1,65 Milliarden US-Dollar an den Medizintechnikriesen Stryker verkauft(öffnet im neuen Fenster) und heuerte den Branchenveteran Gary Bradski(öffnet im neuen Fenster) an.



