iWatch: Apples Smartwatch könnte aus zwei Teilen bestehen

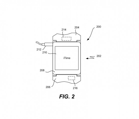
Apple wurde von der US-amerikanischen Patentbehörde USPTO(öffnet im neuen Fenster) ein Patent auf eine Smartwatch zugesprochen. Diese besteht aus zwei Teilen: einem Armband und einer Displayeinheit. Das Display soll aus dem Armband losgelöst und beispielsweise als Media-Player verwendet werden können. In einem Schaubild ist das Gerät mit dem Schriftzug "iTime" versehen.





Im Armband selbst sollen laut der Patentschrift die Sensoren und weitere elektronische Komponenten eingebaut sein, die aus der Displayeinheit erst eine Smartwatch machen. Die Verbindung zwischen Display und Armband soll hergestellt werden, wenn die Displayeinheit in den vorhergesehenen Schacht im Armband gesteckt wird. Eine ähnliche Funktion gab es bereits für den iPod Nano: Auch hier gab es Armbänder, in die der Player gesteckt werden konnte.
Smartwatch soll sich mit zahlreichen Geräten verbinden können
Dann soll die Apple-Smartwatch den Nutzer wie andere Wearables über eingehende Nachrichten, E-Mails und andere Dinge benachrichtigen. Nachrichten kann er dann entweder direkt über die Smartwatch beantworten oder über das Telefon. Apple will die Vernetzung aber nicht beim Telefon belassen: Der Hersteller stellt sich in der Patentschrift eine komplett vernetzte Umgebung vor, die die Smartwatch, das Smartphone, das Tablet und den PC beinhaltet.
Dank der im Armband eingebauten Sensoren soll die Apple-Smartwatch auch mit Gesten steuerbar sein, wie der Hersteller am Ende der Patentschrift erklärt. Dazu gehört beispielsweise eine horizontale Geste, um Anrufe abzulehnen, oder eine vertikale Geste, um einen Anruf zu beantworten.
Offenbar untersucht Apple weiterhin auch einteilige Smartwatch-Konzepte: In einem Bild ist eine flache Smartwatch zu erkennen, die kein abnehmbares Display hat. Hier ist das Armband an zwei Scharnieren befestigt und enthält ebenfals elektronische Bauteile.
Veröffentlichung möglicherweise im Oktober 2014
Anhand der Patentschrift sollte nicht direkt auf das letztliche Aussehen von Apples Smartwatch geschlossen werden. Allerdings gibt sie einen guten Einblick in das Konzept, das Apple offenbar vorschwebt. Die aktuellen Smartwatches der anderen großen Hersteller wie Samsung oder Sony bestehen aus einem Teil, das Display ist nicht abnehmbar.
Aktuellen Gerüchten zufolge will Apple seine Smartwatch im Oktober 2014 auf den Markt bringen. Ob das Gerät dann iWatch oder iTime heißen wird, ist unklar.



