iPhone und iPad: Apple forscht an fühlbarer Displaytastatur

In einem Patentantrag(öffnet im neuen Fenster) beschreibt Apple eine Möglichkeit, haptisches Feedback bei Displaytastaturen zu erhalten. Das Patent, über das Patently Apple berichtet(öffnet im neuen Fenster) , erklärt ein System, in dem elektrostatische Dioden zu einer höhere Reibung führen sollen, wenn leitendes Material sich darüber bewegt - also beispielsweise ein Finger oder ein Eingabestift.
Diese von Apple " elektrostatische haptische Dioden " genannten Bauteile können in verschiedenen Mustern angebracht werden. Dank bestimmter Muster sollen die virtuellen Tasten sich beispielsweise zum Rand der Taste hin anders anfühlen als in der Mitte. Dadurch erhielten Nutzer beim Tippen ein haptisches Feedback, was etwa beim Zehnfingertippen die Positionierung der Finger erleichtern könnte.
Ein solches System müsste in der Praxis sicherlich noch mit weiteren haptischen Rückmeldungen wie einem Vibrationsmotor kombiniert werden. Um die Finger anhand der unterschiedlichen Reibung ausrichten zu können, müssten die virtuellen Tasten zudem auf Druck reagieren und nicht direkt beim Auflegen des Fingers.
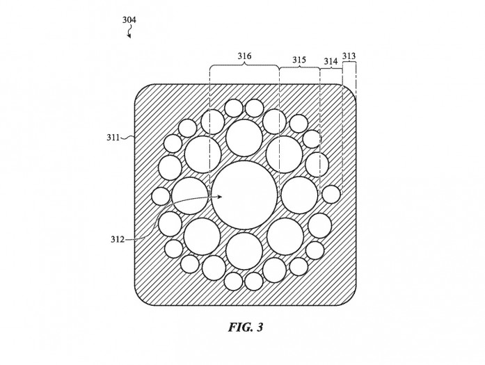
Verschiedene Muster für virtuelle, aber haptische Tasten
Apple stellt in der Patentschrift zahlreiche Muster vor, wie die elektrostatischen Dioden angebracht werden könnten. So könnte es möglich sein, nur den Rand der virtuellen Taste mit einem höheren Reibungswiderstand auszustatten. Verschiedene kreis- und tropfenförmige Muster hingegen könnten feinere Abstufungen bei der Haptik bieten.



In der Vergangenheit gab es bereits Versuche, virtuelle Tastaturen fühlbar zu machen. Das US-Unternehmen Tactus beispielsweise setzte auf physische Erhebungen im Display - durchgesetzt hat sich diese Idee bisher allerdings nicht.

Patente sind gemeinhin kein zwingender Hinweis darauf, dass die beschriebene Technik tatsächlich verwirklicht wird. Wann und ob Apple die elektrostatischen haptischen Dioden bei einem seiner Produkte verwenden wird, ist entsprechend völlig unklar.



