Huawei: Park die Bluetooth-Hörstöpsel einfach in der Smartwatch!

Wohin mit den komplett kabellosen Bluetooth-Hörstöpseln? Auf diese Frage hat Huawei eine praktische Antwort gefunden, wie ein aktuelles Patent zeigt, das die Wipo (World Intellectual Property Organization) veröffentlicht hat. Das niederländische Magazin Lets Go Digital(öffnet im neuen Fenster) ist auf das Patent aufmerksam geworden und hat das vollständige Patentschreiben als PDF-Datei(öffnet im neuen Fenster) veröffentlicht. Demnach soll die Smartwatch die perfekte Aufbewahrungsmöglichkeit für kabellose Bluetooth-Hörstöpsel alias True Wireless In-Ears werden.
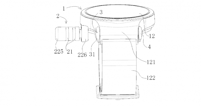
In dem Patent beschreibt Huawei zwei Varianten für das Verstauen von komplett kabellos agierenden Bluetooth-Hörstöpseln. In beiden Fällen würden die Stöpsel in kleine Schächte geschoben werden, die sich direkt an der Smartwatch befinden. In einem Fall sind die Schächte am Armband befestigt und würden dann genau auf der anderen Seite des Uhrendisplays am Handgelenk prangen. Das würde die gesamte Smartwatch jedoch insgesamt relativ voluminös machen. Außerdem besteht hierbei die Gefahr, dass der Uhrenträger leicht mal mit den Schächten irgendwo hängen bleibt.
Dezenter und besser ist die zweite Lösung in die Smartwatch integriert. Dabei befinden sich die beiden Schächte im Bereich zwischen Uhrendisplay und Armband, sie würden sich also vergleichsweise unauffällig an das Uhrengehäuse anschmiegen. Nicht nur optisch sind die Schächte dann mehr Bestandteil der Uhr. Bei der ersten Lösung wirkt es eher wie ein Zusatz zur Uhr. Bei der zweiten Idee sind die Schächte deutlicher integraler Bestandteil der Uhr.



Wer mit seiner Smartwatch auch immer noch gleich passende komplett kabellos arbeitende Bluetooth-Stöpsel dabeihat, erweitert die Einsatzmöglichkeiten einer Smartwatch. Wenn die Uhr Telefonfunktionen hat, kann das mit den Stöpseln bequem erledigt werden. Zudem kann mit den Bluetooth-Stöpseln bequem Musik gehört werden, ohne ein Smartphone dabeihaben zu müssen. Das ist vor allem bei sportlichen Aktivitäten ein wichtiger Aspekt.
Die meisten komplett kabellosen Bluetooth-Hörstöpsel werden mit einem Ladeetui geliefert, in dem diese aufbewahrt werden. Dabei werden die Akkus der Stöpsel auch gleich geladen, damit die Stöpselakkus bei der Nutzung im Idealfall vollständig geladen sind. Dieses Etui sollten Anwender bei sich tragen, bei dem Huawei-Patent ist das nicht notwendig. Möglicherweise wird auch eine künftige Huawei-Smartwatch Reserven haben, um die Stöpselakkus zu laden, wenn diese in den Schächten stecken.
Bisher ist nicht bekannt, ob Huawei das Patent tatsächlich dafür nutzt, um ein solches Produkt auf den Markt zu bringen. Wenn es passiert, gibt es dafür auch noch keinen Termin. Bei Patenten besteht auch immer das Risiko, dass daraus nie Produkte werden, die Kunden einmal kaufen können.



