F3 et al: Nikon patentiert digitale Kamerarückwand für analoge SLRs

Das Prinzip ist nicht neu und von Nikon schon gar nicht: Bereits 1991 kam mit dem System DCS 100(öffnet im neuen Fenster) von Kodak die erste in Serie gefertigte digitale Spiegelreflexkamera auf den Markt. Sie basierte auf dem Gehäuse einer Nikon F3, brauchte aber noch ein externes System mit Stromversorgung und Festplatte. Durch die schnelle Entwicklung volldigitaler Kameras konnten sich die Digitalrückwände aber nicht durchsetzen. Nun hat Nikon selbst in Japan ein Patent beantragt, das eine digitale Rückwand beschreibt, wie das Blog Egami(öffnet im neuen Fenster) bemerkt hat.



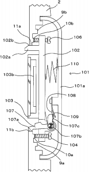
Nikon skizziert darin den bei diesen Geräten üblichen Austausch der Rückwand eines analogen Bodys. Statt des 35-Millimeter-Films sitzt an selber Stelle ein Sensor, der Platz für die Filmrollen wird für Akkus und Elektronik genutzt. Da auch innerhalb der seit 1959 existierenden F-Serie der Abstand zur Filmauflage leicht variiert – spezifische Modelle nennt das Patent offenbar nicht -, dient eine außen angebrachte Schraube zur Justierung. Die Erfindung wurde bereits 2011 angemeldet, aber erst im Dezember 2012 veröffentlicht.
Reizvoll wäre ein solches Upgrade einer analogen Kamera vor allem für Liebhaber, welche die Robustheit der alten Gehäuse und die präzisen mechanischen Bedienungselemente zu würdigen wissen. Aus Gründen der Bildqualität gibt es kaum Vorteile bei alten Bodys, und auch die Bedienung wird eher komplizierter.
Klassische Haptik mit erschwerter Bedienung
So arbeitet beispielsweise die Nikon F3(öffnet im neuen Fenster) , die von 1980 bis 2002 als langlebigste Spiegelreflexkamera aller Zeiten angeboten wurde, zwar schon mit einem elektronisch gesteuerten Verschluss. Der Zugriff auf die Kameraelektronik dürfte aber nur durch den Austausch der Rückwand kaum möglich sein, so dass der Fotograf stets die Parameter von Kamera und Digitalteil unabhängig voneinander einstellen muss.
Den typischen Look analogen Fotografierens, wie ihn besonders hochempfindliche Dia- oder Schwarz-Weiß-Filme bieten, kann ein Sensor alleine auch nicht nachbilden. Dafür gibt es inzwischen zahlreiche Filter für die digitale Bildverarbeitung. Wie beliebt solche nicht wirklichkeitsgetreuen, aber in sich stimmigen Farben sind, zeigt unter anderem der Erfolg von Instagram: Viele der Filter des Fotodienstes orientieren sich an den liebgewonnenen Fehlern analoger Fotografie.