Computer: Apple will Mac in einer Tastatur patentieren

Apple hat sich ein Patent für eine neue Form von Mac-System angemeldet. Der Konzern stellt sich darin einen Computer in einem Tastaturgehäuse vor. Die Tastatur ist intern an das System angeschlossen und kann als Eingabegerät genutzt werden. Das erinnert an den Raspberry Pi 400 , bei dem die Raspberry Foundation einen Bastelrechner in einer Tastatur versteckt.
Apples System(öffnet im neuen Fenster) soll über ein einzelnes Kabel mit einem Display und weiteren Peripheriegeräten verbunden werden. Zumindest sind auf den Patentschemata ( via Patently Apple(öffnet im neuen Fenster) ) keine weiteren Anschlüsse zu sehen. Über das Kabel, welches etwa per USB-C angeschlossen werden könnte, soll das System auch Strom beziehen. Apple stellt sich etwa vor, dass ein entsprechender Monitor das System per USB Power Delivery mit Energie versorgt und zudem weitere Anschlüsse für Zubehör, Wechseldatenträger und Eingabegeräte stellt.
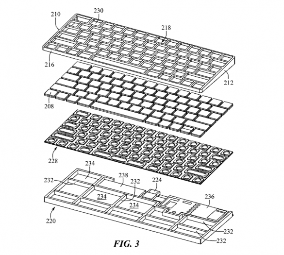
Auf den Bildern scheint sich Apple für eine 65-Prozent-Tastatur entschieden zu haben, die im Computergehäuse integriert ist. Das System verzichtet also auf eine dedizierte F-Tastenreihe und einen Nummernblock. Die Tastatur erinnert etwa an das Design des Magic Keyboard mit flachen Scissor-Schaltern.
Mac mit einem Anschluss
Möglich wäre es etwa, einen Mac mit M1-Chip und verlötetem RAM auf ein kompaktes Mainboard innerhalb der Tastatur zu platzieren. Kompakt genug ist die Platine bereits jetzt, wie etwa durch das Mainboard eines Macbook Pro deutlich wird.





"Ein User kann eine Tastatur mit integriertem Computer transportieren, statt einen ganzen Desktop oder Laptop tragen zu müssen" , schreibt Apple in der Patentbeschreibung(öffnet im neuen Fenster) der Patentnummer 20220057845. Allerdings würde das vorgeschlagene Produkt kompatible USB-C-Monitore voraussetzen. Da Patente aber nur generelle Konzepte und keine fertigen Produkte beschreiben, ist der Ansatz, nur einen Port zu verbauen, nicht sicher – genauso wenig, wie die generelle Umsetzung des Tastatur-Mac.



