Apple-Patent: Macbook-iPad-Kombi ohne Tastatur und Touchpad
Apple hat in den USA ein Patent zugesprochen bekommen, das ein recht ungewöhnliches Notebook-Konzept beschreibt. Im Kern handelt es sich um ein Macbook mit Elementen eines Tablets. Es hat zwar weder Tastatur noch Touchpad, dafür aber einen doppelseitigen, transparenten Touchscreen.
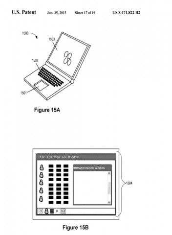
Ein Macbook ohne das traditionelle mechanische Tastaturfeld oder den Mausersatz Trackpad ist Apple in den USA als Patent zugesprochen worden. Es hat stattdessen ein transparentes Touchpad, das die gesamte Fläche einnimmt. Auch seine Rückseite ist touchsensitiv.
Dieses Notebook kann wie ein Tablet benutzt werden, wenn es zusammengeklappt wird. Der Anwender sieht den Bildschirm dann durch das Glas und kann den Rechner über die berührungsempfindliche Oberfläche bedienen, die im Notebook-Betrieb die Unterseite bildet, auf der das Gerät steht.
Im Notebook-Betrieb hingegen ist die Innenseite des Glases gefragt. Sie wird dann als Tastatur und Touchpad genutzt. Apple betont in dem Patent aber, dass die Erfindung auch für andere mobile und stationäre Geräte genutzt werden könnte - zum Beispiel für Medienplayer, Desktoprechner, Smartphones und Konsolen.
Die Idee, anstelle einer echten mechanischen Tastatur einen Touchscreen in einem Notebook zu verbauen, ist nicht neu. Acer hat mit dem Iconia Dual Screen schon einmal ein solches Gerät entwickelt und auf den Markt gebracht.
Das tastaturlose 14-Zoll-Notebook, das Tippen völlig ohne haptisches Feedback ermöglichte, besaß allerdings zwei Bildschirme. Auf dem unteren konnten neben normalen Inhalten auch eine Tastatur und ein Touchpad eingeblendet werden. Das Gerät ließ sich im Gegensatz zu anderen Notebooks so weit aufklappen, dass beide Bildschirme plan auf dem Schreibtisch lagen.
Apple hatte seinen Patentantrag schon im September 2006 eingereicht. Das Patent 8,471,822 wurde erst jetzt bewilligt. Ein Patentantrag oder ein gewährtes Patent sind kein Indiz dafür, dass Apple auch tatsächlich ein solches Gerät entwickeln und auf den Markt bringen wird. Eine Vielzahl von Patenten hat es nie zu einem fertigen Produkt gebracht.
Oder nutzen Sie das Golem-pur-Angebot
und lesen Golem.de
- ohne Werbung
- mit ausgeschaltetem Javascript
- mit RSS-Volltext-Feed









Der NDS hat z.B. eine Kombi ohne Tastatur und Touchpad und kam in Japan 2004 raus...
Der Stil des "Screenshots" auf den Bildern 4 und 6 sieht mir sehr danach aus. Haha
Ich würde sagen, dass der Energieverbrauch in etwa dem der Windows 8 Ultrabooks mit einem...
Nur weil mich etwas interessiert, bin ich noch lange kein Fan-Troll