Apple-Patent: Akkulaufzeit besser verwalten mit Lokalisierung

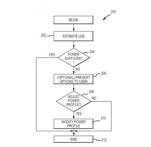
Apple hat bei der USPTO (US Patent & Trademark Office), der US-amerikanischen Patentbehörde, ein Patent(öffnet im neuen Fenster) für eine Funktion eingereicht, welche die Akkunutzungszeit bei Smartphones und Tablets verlängern soll. Kernstück ist eine Lokalisierungsfunktion, die sich Orte und Uhrzeiten regelmäßiger Aufladevorgänge merkt.


Basierend auf diesen Daten und der aktuellen Nutzungsweise soll das Smartphone oder Tablet berechnen, ob der Ladestand noch bis zum nächsten Aufladen ausreicht. Falls das aktuelle Nutzungsverhalten dazu führen würde, dass die Akkuladung nicht ausreicht, schaltet das Gerät nicht genutzte Funktionen ab oder schließt im Hintergrund laufende Programme.
Die unterschiedlichen relevanten Daten werden in einer Datenbank gespeichert, auf deren Basis ein Akku-Management-Plan erstellt wird. Ändert sich das Nutzerverhalten, soll der Plan angepasst werden. Nutzer können zudem selbst Veränderungen vornehmen. Das zum Patent angemeldete System soll zwischen unterschiedlichen Nutzern desselben Gerätes anhand deren Nutzerverhalten unterscheiden können.
Konkurrenz zu vorhandenen Akkuschon-Apps
Für mobile Betriebssysteme gibt es bereits eine Vielzahl an Akkuschon-Apps. Diese zielen darauf ab, mehr oder weniger intelligent je nach Benutzerverhalten bestimmte Funktionen abzuschalten. Der Battery Guru von Snapdragon beispielsweise analysiert zunächst drei Tage lang das Nutzerverhalten und erstellt darauf basierend einen Akkuschon-Plan. Eine detaillierte Überwachung der Akkulaufzeit zwischen zwei Aufladestandorten berücksichtigen die meisten dieser Apps allerdings nicht.
Wann Apple die neue Technologie in welchen Geräten einsetzt, ist bislang noch nicht bekannt.



