Anschlüsse: Apple könnte Adapterchaos per Funk ein Ende bereiten

Im US-Patent 8.280.465(öffnet im neuen Fenster) beschreibt Apple unter anderem, wie ein Adapter zwischen dem Endgerät und seinem Zubehör für Funkkontakt sorgen könnte.
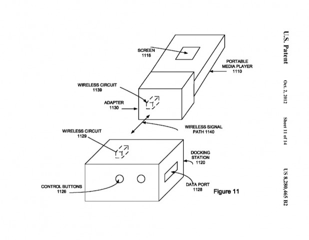
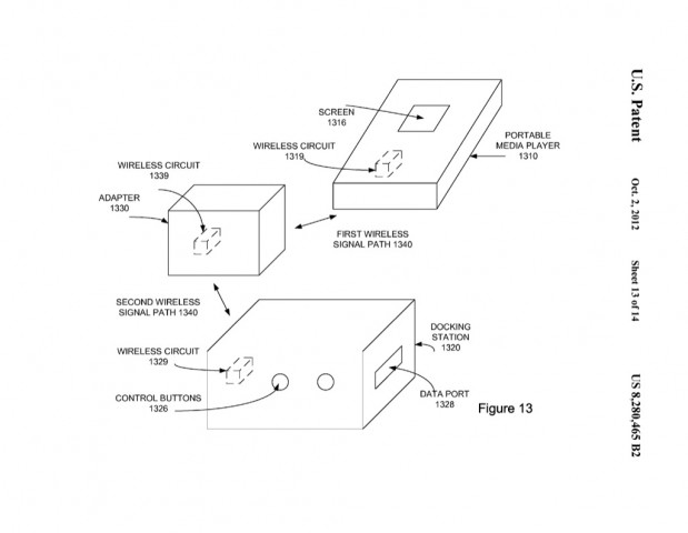
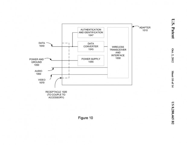
Ein solcher Drahtlosadapter soll verschiedene Protokolle wie WLAN und Bluetooth umsetzen und auch einen Rückkanal für Steuerbefehle vom Zubehör zum mobilen Gerät und ein Authentifizierungsmodul bieten, schreibt Apple in der Patentschrift. Mit Letzterem wird sichergestellt, dass nur zertifiziertes Zubehör verwendet werden kann. Apple beschreibt im Patent gleich mehrere Anschlussversionen. Der Adapter wird dabei entweder am mobilen Gerät oder am Zubehör befestigt.



Apple hatte nicht gerade wenig Kritik auf sich gezogen, als bei den neuen mobilen Geräten wie beispielsweise dem iPhone 5 die neue Lightning-Schnittstelle eingeführt wurde. Damit wurde der alte 30-Pin-Dock-Connector aufgegeben und ein deutlich schmalerer Anschluss eingeführt, der mit acht Pins auskommt. Ein Adapter auf den alten Anschluss ist separat für 29 Euro erhältlich. Darüber hinaus soll es auch bald separate Adapter für HDMI- und VGA-Anschlüsse geben.
Ursprünglich war die Technik nur dazu gedacht, Lautsprecher und andere Docks für Apple-Modelle auch mit anderen Geräten kompatibel zu machen. Die Idee aus der Patentschrift würde allerdings auch das Problem zwischen alten und neuen Dockinganschlüssen und inkompatibel gewordenem Zubehör elegant lösen können.
Ob Apple solche Adapter wirklich auf den Markt bringt, lässt sich allein aufgrund der Patentvergabe nicht sagen. Apple hatte das Patent im September 2011 eingereicht und bekam es erst jetzt zugesprochen.