Zum Hauptinhalt Zur Navigation Zur Suche

Patentantrag: Mac-Steuerung mit Kinect-ähnlichem Interface

Den Mac mit den Händen berührungslos zu steuern, soll einem Patentantrag von Apple zufolge bald möglich sein. Kombiniert mit einer Spracherkennung und -steuerung würde das den Umgang mit dem Mac vollkommen verändern.
/ Andreas Donath
24 Kommentare undefined News folgen (öffnet im neuen Fenster)
Wird der Mac künftig mit Gesten und der Stimme gesteuert? (Bild: Lance Shields/CC BY 2.0)
Wird der Mac künftig mit Gesten und der Stimme gesteuert? Bild: Lance Shields/CC BY 2.0

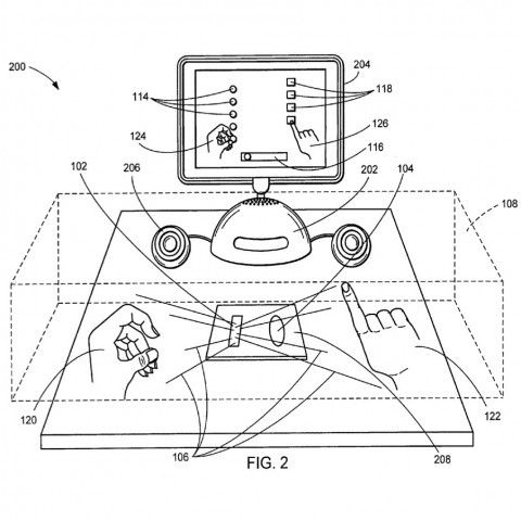
Apples Patentantrag beschreibt eine Steuerung, die Xbox-Benutzer vom Kinect-System bereits kennen. Die Hardware erkennt den Benutzer und soll nicht nur Körper- und Handbewegungen deuten, sondern auch Gesichtsausdrücke interpretieren können.

Damit könnte die Bedienung des Desktops teilweise mit der Hand berührungslos erfolgen. Der Anwender könnte damit Gesten vollführen und Aufgaben erledigen, die derzeit zum Beispiel mit dem Magic Trackpad gemacht werden. Dazu zählen das Blättern durch Dokumente und Bildersammlungen oder das Sortieren von Dateien in Ordner.

Apple hatte schon 2005 einen Patentantrag eingereicht, der sich mit der gleichen Thematik beschäftigte und genauer beschrieb, wie die Erkennung technisch erfolgt. Dazu bekam Apple auch schon im September 2011 ein Patent zugesprochen . Den neuen, ergänzenden Patentantrag hat Apple auch mit ausdrücklichem Hinweis auf das Vorpatent gestellt. Die neuerliche sogenannte Teilanmeldung(öffnet im neuen Fenster) wird häufig eingesetzt, weil das Ursprungspatent nicht die erforderliche Schöpfungshöhe aufweist.

Apple könnte die Gestensteuerung mit einer Sprachsteuerung und der Gesichtserkennung verfeinern. Das vorgeschlagene System könnte zwar Maus und Tastatur nicht vollständig ersetzen, aber immerhin ergänzen. Seine Spracherkennungs- und Sprachsteuerung Siri setzt Apple bislang nur für iOS ein, doch das könnte sich schnell ändern und auch für Mac OS X wäre das Siri-System geeignet.

Der Patentantrag 20110298798(öffnet im neuen Fenster) mit dem Titel "Three-Dimensional Imaging and Display System" wurde in den USA Mitte August 2011 eingereicht und erst jetzt publiziert. Ob die Gestenerkennung jemals in konkrete Hard- und Softwareprodukte mündet, ist wie immer ungewiss. Eine Vielzahl beantragter und erteilter Patente wurde nie in Produkte oder Programme umgesetzt.


Relevante Themen