Apple-Patent: Macbooks mit UMTS im Scharnier

Mac OS X und iOS nähern sich immer stärker an. Dadurch liegt es nahe, auch die mobile Hardware weiter anzugleichen. Der geringen Platz, den das Gehäuse der flachen Geräte bietet, soll besonders gut ausgenutzt werden. Ein US-Patent beschreibt, wie Apple vorgehen könnte.




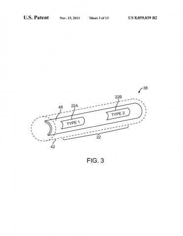
Das Scharnier des Notebooks enthält die für ein Mobilfunkmodul notwendigen Antennen, die für die unterschiedlichen Frequenzbänder erforderlich sind. Ob das Display auf den Rücken des Notebooks gedreht werden kann, um daraus ein Tablet zu machen, geht aus dem Patentantrag nicht hervor. Einige Medien spekulierten angesichts der Explosionszeichnung im Patentantrag sogar über ein abnehmbares Display.
Externe UMTS-Modems werden überflüssig
Die Integration von Mobilfunktechnik wäre ein längst notwendiger Schritt, um das Macbook Air und das Macbook Pro für die Zukunft und die Konkurrenz der Ultrabooks zu rüsten. Bislang wurde nur in das iPad und das iPhone ein Mobilfunkmodem integriert, während Anwender, die mit ihrem Apple-Notebook über UMTS oder GPRS online gehen wollen, eine externe, sperrige USB-Lösung benötigen.
Das US-Patent "Clutch barrel antenna for wireless electronic devices" mit der Nummer 8,059,039(öffnet im neuen Fenster) wurde Ende September 2008 eingereicht und Mitte November 2011 von der Behörde erteilt. Die US-Website Patentlyapple(öffnet im neuen Fenster) weist auf zahlreiche Patentanträge aus den Jahren 2010 und 2011 hin, in denen Apple weitere Telefonfunktionen eines künftigen Macbooks beschreibt.
Ob die Idee jemals in konkrete Produkte mündet, ist wie immer ungewiss. Eine Vielzahl beantragter und erteilter Patente wurde nie in Produkte oder Programme umgesetzt.



