Nikon: DSLR mit kombiniertem Live-View- und Spiegelsucher

Live-View-Funktionen in Spiegelreflexkameras werden über das Display realisiert, das dann als alternativer Sucher arbeitet. Der optische Sucher bleibt außen vor. Nikon will nun die Live-View-Funktion in den Sucher verlagern. Auf das gewohnte Bild über den Spiegel muss der Anwender dennoch nicht verzichten.




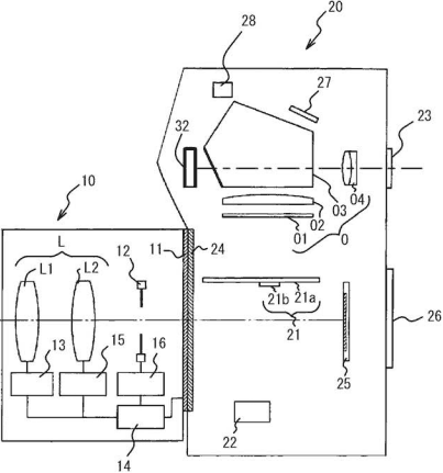
Die Patentschrift von Nikon beschreibt eine digitale Spiegelreflexkamera, bei der der Anwender zwischen beiden Sucherarten umschalten kann. Eine Überlagerung von elektronischer Anzeige und Sucherbild wie bei der X100 von Fujifilm wird es jedoch nicht geben.
Die Umschaltung zwischen optischem und elektronischem Sucher hat gegenüber dem herkömmlichen Live-View mit separatem Display mehrere Vorteile. Der Fotograf kann ohne die Kamera abzusetzen zwischen beiden Modi umschalten. Die elektronische Sicht zeigt das an, was später auch auf dem Digitalbild zu sehen ist - sowohl den exakten Bildausschnitt als auch die Farbabstimmung, die Schärfentiefe und weitere Parameter. Auch Bildverfremdungseffekte, die DSLRs eigentlich zur Nachbearbeitung des Fotos vorhalten, könnten sofort im Sucher genutzt werden.
Nikon weist auch auf einige andere Situationen hin, in denen ein optischer Sucher Nachteile hat. Bei Fotos mit starkem Gegenlicht könnte der Fotograf durch den Spiegelsucher zu stark geblendet werden, während die Beleuchtungsintensität eines elektronischen Displays leicht regelbar ist. Nikon will laut der japanischen Website Egami(öffnet im neuen Fenster) neben der Umschaltung zwischen beiden Modi auch die automatische Umschaltung je nach Lichtsituation zwischen den beiden Displays umsetzen.
Die japanische Patentschrift 2011-223469 wurde am 13. April 2010 eingereicht und Anfang November 2011 veröffentlicht. Patente und Patentanträge müssen nicht in konkrete Produkte münden.



