Nikon-Patentantrag: Hochgeschwindigkeitskamera mit Stiftbedienung

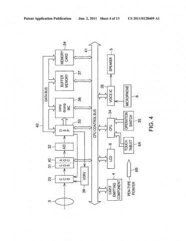
Die Nikon-Patentantragsschrift beschreibt eine Kamera, die mit vier AA-Batterien mit Strom versorgt wird, was außer bei sehr preiswerten Kompaktkameras mittlerweile unüblich geworden ist. Mit einem Schalter kann der Anwender die Serienbildgeschwindigkeit verändern. Neben einer Aufnahme pro Auslösevorgang können auch 8 und 30 Bilder pro Sekunde aufgenommen werden. Auf Videoaufnahmefunktionen wird in der Patentschrift nicht eingegangen, die Rede ist ausschließlich von Fotos.







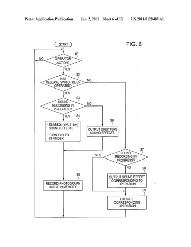
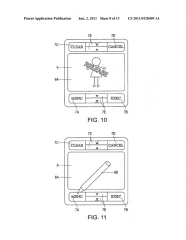
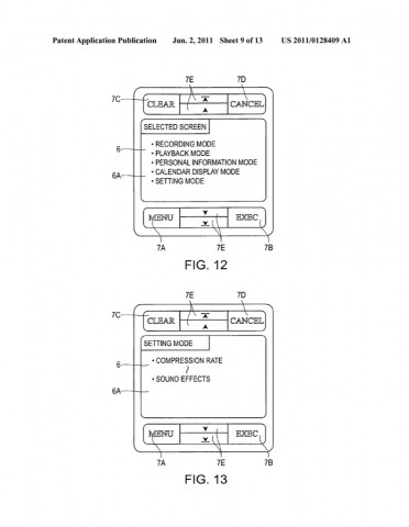
Die beschriebene Kamera kann über einen Touchscreen mit den Fingern oder mit einem Stift bedient werden. Neben den üblichen Aufnahmefunktionen wird über das Display auf Wunsch auch ein Kalender eingeblendet. Außerdem kann die Kamera als Diktiergerät verwendet werden. Das Auslösegeräusch wird dabei nicht mitaufgezeichnet, schreibt Nikon im Patentantrag.
Der US-Patentantrag 20110128409(öffnet im neuen Fenster) wurde am 4. Februar 2011 eingereicht. Patente und Patentanträge müssen wie üblich nicht in konkreten Produkten münden. Viele wurden bisher eingereicht und erteilt, ohne genutzt zu werden.



