Apple-Hardware: Kombianschluss für USB 3.0 und Displayport

In der Patentschrift wird ein Nachfolger für Apples 30-Pin-Anschluss beschrieben. Er vereint USB 3.0 und die Displayportschnittstelle. Da der Platz an den Gehäusen der tragbaren Endgeräte wie dem iPod, dem iPhone und dem iPad knapp bemessen ist, könnte Apple mit einem Kombinationsanschluss mehrere Probleme lösen.



Die schnellere Datenübertragung, die zum Beispiel mit USB 3.0 oder der Lightning-Schnittstelle möglich ist, wird benötigt, um auch längere und hochauflösende Videos in akzeptabler Zeit mit dem PC oder Mac zu synchronisieren.
Und eine Displayport-Schnittstelle würde Apple die Möglichkeit eröffnen, die iOS-Geräte an Zweitdisplays anzuschließen oder sie mit Macs zu kombinieren, die ihrerseits zum Beispiel das iPad als sekundären Bildschirm nutzen könnten.
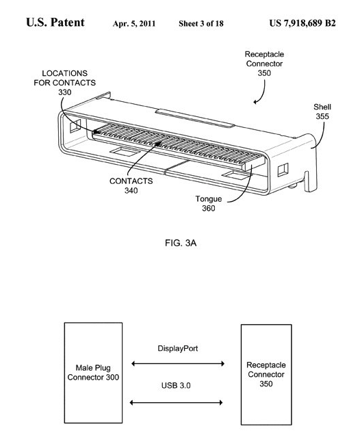
Der patentierte 30-Pin-Anschluss ist einreihig ausgeführt. Das Patent mit der Nummer 7,918,689(öffnet im neuen Fenster) wurde schon 2008 beantragt und erst jetzt erteilt. Apples Patente und Patentanträge müssen wie üblich nicht in konkreten Produkten münden. Viele wurden bisher eingereicht und erteilt, ohne genutzt zu werden.