Sony
Patent für Origami-Kameragriff
Sony hat in den USA ein Patent zugesprochen bekommen, bei dem der Objektivdeckel der Kamera zu einem Griff umfunktioniert werden kann. So soll die Ergonomie der besonders flachen Kompaktkameras gesteigert werden.
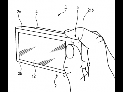
Ein faltbarer Objektivschutz könnte bei künftigen Sony-Kompaktkameras für mehr Griffigkeit sorgen. Ein Sony-Patent beschreibt eine recht simple Konstruktion, bei der sich das Schutzelement zu einem kleinen Handgriff auffaltet.
Sony setzt bei seinen flachen Cybershot-Digitalkameras seit langer Zeit einen Objektivschutz ein, der auch als Ein- und Ausschalter verwendet wird. Bei manchen Modellen wird er nach unten geschoben, um das Objektiv freizugeben, bei anderen zur Seite.
In den Zeichnungen zur Patentschrift 20070291166 wird von einem Objektivschutz ausgegangen, der zur Seite geschoben wird. Er ist dreiteilig und faltet sich so auf, dass ein dreieckiger Vorsprung entsteht, den der Fotograf als Griff nutzen kann.
Noch ist keine Cybershot-Kamera angekündigt worden, die dieses Konstruktionsprinzip einsetzt.
Oder nutzen Sie das Golem-pur-Angebot
und lesen Golem.de
- ohne Werbung
- mit ausgeschaltetem Javascript
- mit RSS-Volltext-Feed






Du bist bestimmt kein Ingenieur und hast auch keine Ahnung von seiner Arbeit. Sonst...