Gestensteuerung: Tastatur beobachtet die Finger mit Kameras
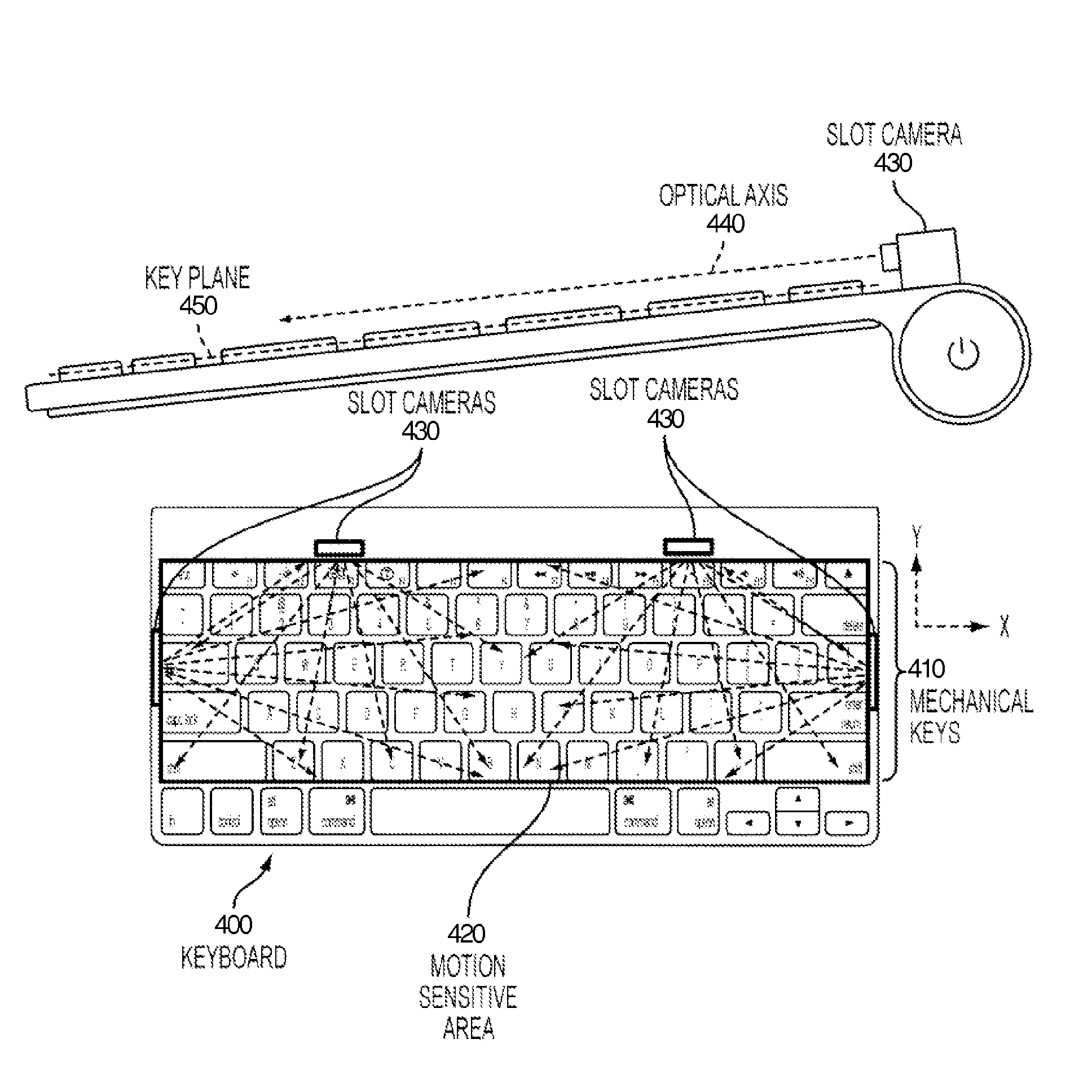
Im einem US-Patentantrag beschreibt Apple eine leicht modifizierte Tastatur, bei der vier Kameras am Gehäuserand die Fingerspitzen des Benutzers stets im Blickfeld haben. Sie sind Teil einer Gestenerkennung, die Mauseingaben oder ein Trackpad überflüssig machen sollen.

Die Bewegungserkennung kann zum Beispiel zum Scrollen oder der Mauszeigersteuerung eingesetzt werden. Der Benutzer muss dazu die Tasten nicht berühren. Vielmehr bewegt er seine Finger etwas oberhalb des Tastenfeldes. Die Kameras beobachten diese Bewegung und eine Software wertet sie aus.
Die Technik setzt Apple auch bei der Magic Mouse und dem Magic Trackpad ein. Allerdings ist die Sensorik hier eine andere. Bei den bekannten Eingabegeräten werden die Fingerbewegungen auf einer berührungsempfindlichen Oberfläche ausgewertet. Zudem können alle zehn Finger einzeln erkannt werden.
Der Vorteil der im Patentantrag beschriebenen Technik liegt auf der Hand. Der Anwender müsste seine Hände nicht mehr von der Tastatur nehmen, um die grafische Benutzeroberfläche zu steuern. Und bei Notebooks würde viel Platz eingespart, wenn das Trackpad wegfiele.
Apples Patentanträge müssen wie üblich nicht in konkreten Produkten münden. Das Dokument stammt vom Juli 2009, wurde aber erst Mitte Januar 2011 unter der Nummer 20110006991(öffnet im neuen Fenster) veröffentlicht.