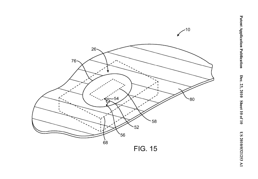
Apple: Antenne hinter dem Apfel-Logo

Die Antenne hinter dem Logo ermöglicht Apple, die Empfangs- und Sendetechnik besser zu verstecken, ohne dass sich das Metallgehäuse der Geräte negativ bemerkbar macht. Die Antenne kann nicht nur für die landläufig bekannten Kommunikationsschnittstellen genutzt werden, was Apple bei einigen Geräten wie dem iPad oder dem iMac bereits für WLAN realisiert hat. Vielleicht erhalten die Apple-Notebooks nun doch einmal integriertes UMTS.



Auch die Nahbereichsfunktechnik (Near field communications, NFC ) würde interessante Möglichkeiten zum Datenaustausch zwischen Mobilgeräten wie Handys und MP3-Playern und Notebooks bieten. Ein Kabel wäre nicht erforderlich. Stattdessen müssten beide Geräte nur nebeneinander beziehungsweise aufeinander gelegt werden, um den Datentransfer in hoher Geschwindigkeit zu ermöglichen.
Sony setzt seine proprietäre Transferjet-Technik bereits in Memorysticks und Notebooks ein. Die Technik ist hier vornehmlich für den Austausch von Fotos gedacht. Die Technik erlaubt eine maximale Geschwindigkeit von 560 MBit/s brutto. Anders als bei WLAN oder Bluetooth ist die Funkstrecke auf rund 3 cm begrenzt.
Auch für die neue Funktechnik LTE ( Long Term Evolution)(öffnet im neuen Fenster) für schnelle schnurlose Datenübertragungen könnte die Logo-Antenne genutzt werden. Der US-Patentantrag(öffnet im neuen Fenster) ist jedoch ein Indiz dafür, dass tatsächlich Notebooks und iPhones mit diesen Funktionen auf den Markt kommen.