Sony: NEX-Hybridkameras bald mit schnellem Autofokus?

Sony setzt halbdurchlässige Spiegel bereits in seinen Spiegelreflexkameras A33 und A55 ein. Hier wird anstelle eines normalen sogar ein elektronischer Sucher verwendet. Der elektronische Sucher erreicht eine Auflösung von 1,15 Millionen Bildpunkten und deckt 100 Prozent des Bildfeldes ab.

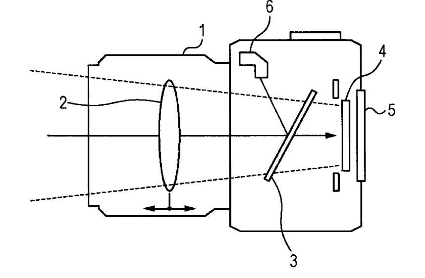
Den elektronischen Sucher setzt Sony ein, um auch beim Filmen den schnellen Phasenkontrast-Autofokus(öffnet im neuen Fenster) nutzen zu können. Das funktioniert mit einem feststehenden, aber halblichtdurchlässigen Spiegel . Er lässt das Licht größtenteils auf den Hauptsensor durch, einen Teil davon lenkt er jedoch permanent zu den Autofokussensoren.
Die spiegellosen NEX-Kameras hingegen arbeiten wie normale Kompaktkameras mit dem Kontrast-Autofokus(öffnet im neuen Fenster) . Er ist erheblich langsamer und vor allem bei schlechter Beleuchtung wesentlich unpräziser als der Phasenkontrast-Autofokus.
Noch gibt es aber nur den Patentantrag(öffnet im neuen Fenster) und keine konkreten Produktankündigungen seitens Sony, dass die neue Technik auch tatsächlich bei den NEX-Kameras der Zukunft eingesetzt wird.