Sony: Patent für Bewegungssteuerung mit Ultraschall

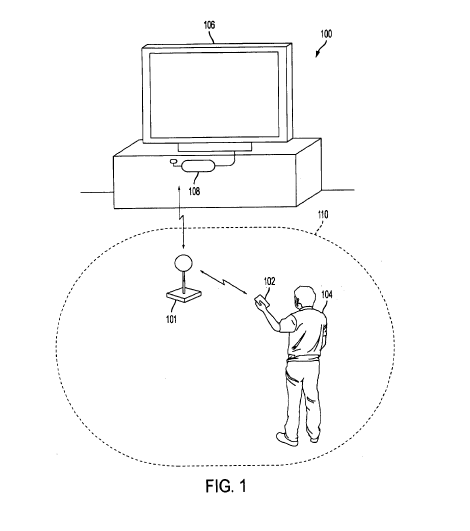
Die nordamerikanische Niederlassung von Sony Computer Entertainment hat beim United States Patent and Trademark Office(öffnet im neuen Fenster) ein Patent für eine neue Art der Bewegungssteuerung eingereicht. Das System erinnert an eine Mischung aus dem hauseigenen Move und Microsofts Kinect : Spieler halten einen Controller in der Hand, der über ein Gyroscope, einen Beschleunigungssensor, ein Magnometer und vor allem über einen Ultraschall-Übermittler verfügt, so Siliconera.com(öffnet im neuen Fenster) . Ein zweites, stationäres Ultraschallgerät auf dem Boden verfügt außerdem über Kameras und einen Soundprozessor. Beide senden ihre Daten beispielsweise an eine Konsole, die für die Auswertung und Umsetzung in Spielen zuständig ist.


Eine Beispielgrafik mit einem Skateboard zeigt, dass das System ebenso wie Kinect die Bewegungen des ganzen Körpers erfassen kann – und nicht nur, wie Move, die der Hand. Ob Sony die Ultraschallsteuerung allerdings jemals in einem Produkt umsetzt, ist fraglich: Patente wie dieses werden oftmals auch eingereicht, um generell die Ideen der eigenen Forscher zu schützen. Allerdings: Eine frühere Version von Move war Ende 2008 im Patentantrag lange vor der offiziellen Ankündigung zu sehen.